登陸資本市場,已經成為行業內“心照不宣”的擴產融資手段。據起點鋰電大數據觀察,近一個月內,鋰電賽道出現多家企業沖刺IPO。
估值400億,電池獨角獸發力
5月10日,萬向錢潮在投資者互動平臺表示,目前公司已完成對萬向一二三的投資,萬向一二三上市工作在推進之中。
據悉,萬向一二三是萬向集團旗下鋰電池制造企業,萬向錢潮出資40億元投資萬向一二三,本次投資完成后,萬向錢潮持有萬向一二三 10.91%的股權,為第二大股東,而萬向一二三第一大股東萬向集團持股比例由80.26%降為69.35%,其他股東包括工銀瑞信投資管理有限公司、國開發展基金有限公司、工銀金融資產投資有限公司等。
與此同時,萬向一二三也在近期進行了一輪戰略融資,盈科資本等參與,公開消息顯示,預計投后估值或將超400億元。

實際上,萬向一二三已經在去年10月31日與中金公司簽署了上市輔導協議,按照安排,輔導工作目前應該已進入上市條件評估階段。
產能端,萬向一二三2020年已建成產能達到12GWh。萬向創新聚能城80GWh鋰電池項目預計今年6月底具備試生產條件,項目二期計劃上半年開工。客戶端,國際方面包括大眾、戴姆勒奔馳、保時捷、捷豹路虎、通用、克萊斯勒等車企,國內方面主要有上汽、奇瑞等。其中萬向一二三是國內第三家進入大眾供應鏈的電池企業,雙方合作訂單規模在百億元以上,2021年四季度已經向大眾汽車供貨,目前合作項目正在順利推進中。
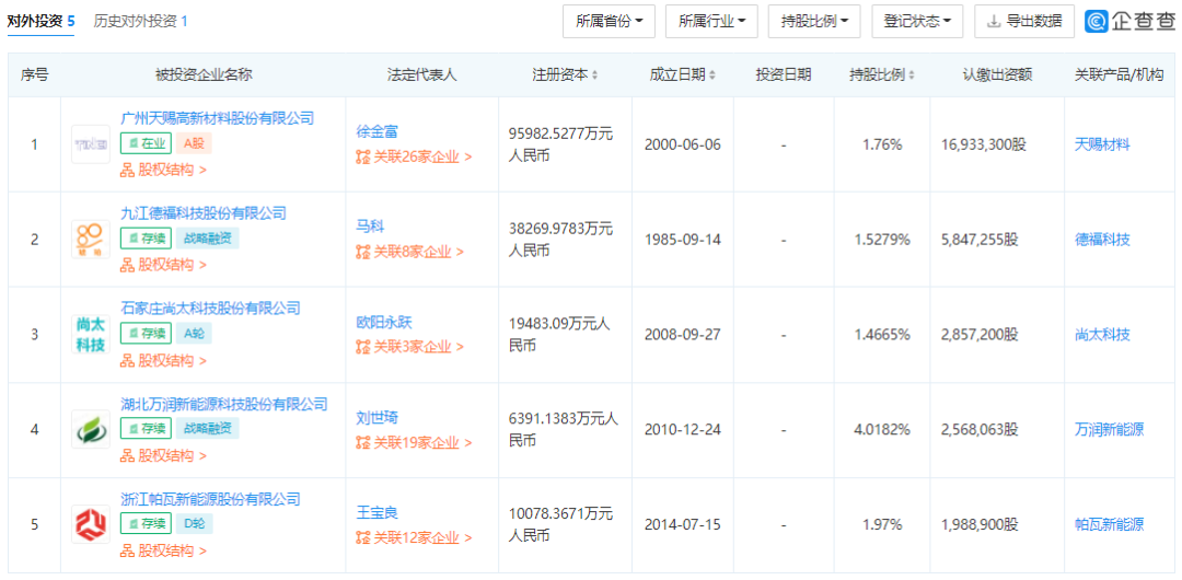
從布局來看,萬向一二三目前對外5家企業進行投資,分別是天賜材料、德福科技、尚太科技、萬潤新能源、帕瓦新能源,涉及電解液、銅箔、三元材料、磷酸鐵鋰材料等多個領域。可以看到的是,以上企業均為細分領域的龍頭企業,萬向一二三已經為今后的擴產做好材料供應的準備。

大成精密啟動IPO輔導
起點鋰電大數據注意到,5月10日,科創板日報發文公布,有3家企業啟動A股IPO輔導,其中包括深圳市大成精密設備股份有限公司(簡稱:大成精密)。
資料顯示,大成精密創立于2011年,是一家專業從事鋰電池生產及測量設備的研發、生產、銷售及技術服務于一體的高新技術企業。公司主要面向鋰電池制造廠商提供鋰電池極片測量、真空干燥、X-Ray成像檢測等智能裝備產品和服務。
經歷10年以上時間的發展,目前,大成精密產品在鋰電領域被市場充分認可,已實現全球行業TOP20客戶全覆蓋,成交了200余家知名鋰電池廠商,產品市場占有率穩居行業前列,并遠銷日韓、美國和歐洲等多個國家和地區。
而大成精密計劃上市的“苗頭”也早就出現,曾在2021年7月2日正式由深圳市大成精密設備有限公司更名為深圳市大成精密設備股份有限公司,但并沒有公布融資情況。
珠海賽緯重啟上市輔導
近日,招商證券正式發布關于珠海賽緯首次公開發行股票并上市輔導備案報告。報告顯示,招商證券作為本次沖刺的輔導機構,在今年4月21日正式簽署上市輔導協議。
珠海賽緯是一家研發、生產、銷售中高端鋰離子電池電解液和鋁塑復合膜的國家高新技術企業,目前已經進入國內領先電池企業供應鏈,包括鵬輝能源、桑頓新能源、天勁、光宇、路華科技、卓能新能源等,另外擁有包括多氟多、華盛新能源、延安必康等在內多家優質供應商。
2008年至今,珠海賽緯共完成了三輪融資,投資方包括華慧創投、點石投資、大得宏濤等。

實際上,珠海賽緯早在2017年就曾傳出擬登陸深交所創業板的消息,但在當年9月因為營收業績和客戶重合未通過審核。
產能端,海賽緯電解液現有年產能2.5萬噸,另外與石磊集團合資的贛州石磊新能源擁有年產2000噸的六氟磷酸鋰項目,在建項目包括贛州石磊新能源年產4萬噸電解液項目,規劃項目為淮南市年產20萬噸電解液項目。長期來看,電解液規劃年產能可達到26萬噸以上,但與頭部企業之間的產能差距較大。
相比較前面這些企業企業,產業鏈上海科新源、帕瓦新能源等企業也在IPO,且進程較快,均已經成功過會。
責任編輯: 李穎